You can not select more than 25 topics Topics must start with a letter or number, can include dashes ('-') and can be up to 35 characters long.
 
 
 
 
 

6.5 KiB

背景

我司目前主要应用包括:视频监控(健康监测、工地、公厕)、视频称重等。

早期,通过大华、海康摄像头NVR配合 SDK调用,再使用MediaPush RTSP/RTMP方式推流 (基于SRS开发的推流服务,目前发布在:218.3.150.106)

后期智慧城市项目多使用海康萤石云接入。

2021年完成对GB28181国标协议的接入(基于开源项目 Monibuca)。(目前发布地址:http://221.230.55.27:8081/ui/#/home

目标

统一、开放、独立的视频接入中台服务

  1. 适配我司现有/待选型摄像头/NVR视频接入和WEB/APP/小程序等所有推流场景。逐渐标准化视频解决方案。
  2. 作为IOT产线功能模块直接提供第三方服务,实现独立平台功能包括设备配置、管理,实时推流展示、抓拍录像等
  3. 深耕我司安全监测/智慧城市业务领域,实现视频监测与业务融合的解决方案。

规划

  • 开发基于Monibuca实现可视化视频管理平台 ☆☆☆☆
    • 设备管理列表、项目分组归属;☆☆☆☆
    • 实时预览、历史回看,支持显示多种协议推流地址(URL)信息 ☆☆☆☆
    • 云控、录像、抓拍功能验证或开发;☆☆☆
    • 设备在线状态和流量统计;☆☆☆
  • 性能压测和调优(负载均衡+分布式推流);☆☆☆☆☆
  • 视频和监测联动控制;☆☆
  • 除GB28181之外,考虑适配Onvif、EHOME等较为常见的视频流协议;☆
  • 视频推流分辨率控制;☆

设备管理层级和绑定关系:

image-20220307092436931

竞品

LiveQING LiveGBS

官网演示地址; 开发文档前端源码

功能点:

  • 可视化设备管理,在线状态
  • RTSP、RTMP、HTTP-FLV、Websocket-FLV、HLS、WebRTC 等多种协议流输出
  • 国标向上级联
  • H264、H265, UDP、TCP信令和流传输
  • 预览、回看、音频、多路、云台、语音对讲

程序组成结构:

image-20220304094035019

海康萤石云

GB接入功能:

  • 设备管理列表
  • License接入控制
  • 国标级联、算法训练
  • 云录制、云存储、消息推送

总览页如下:

image-20220303173016767

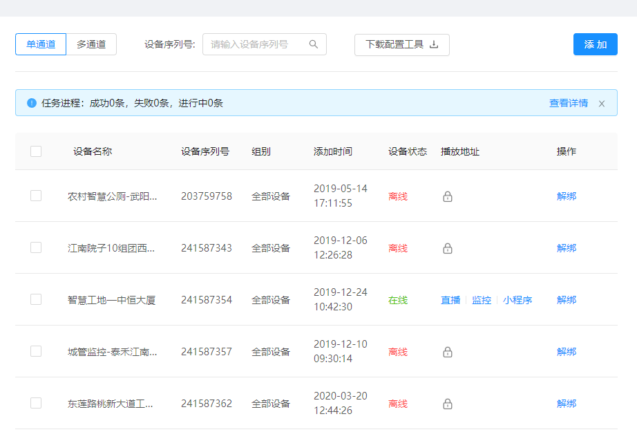
监控控制台中的设备列表:

image-20220307090023722

青犀TSINGSEE

主页

http://open.tsingsee.com/

EasyCVR支持国标和EHOME协议

http://demo.easycvr.com:18000/#/device/list easycvr/easycvr

主要功能:

  • 设备列表、视频调阅
  • 告警设置和查询
  • 定时录像计划、国标级联

设备列表:

image-20220129153126420

通道列表

image-20220129153140317

image-20220129153624593

附录-术语+技术

ONVIF

【百度百科】ONVIF(开放式网络视频接口论坛);

规范1.0版本包括以下方面:

  • IP配置
  • 查找设备
  • 设备管理
  • 影像配备
  • 实时监控
  • 事件分析
  • PTZ摄像头控制
  • 视频分析
  • 安防领域

仅支持局域网访问。外网访问需要有固定IP。

支持golang的库有如下:

github.com/use-go/onvif

EHOME

ehome协议是海康的私有协议,相对于GB28181国标协议都是基于设备端主动向平台注册,更适用于无固定ip地址的设备,只需要配置一下设备注册地址即可云端使用。

tsingeye/FreeEhome

《EasyCVR平台集成EHOME协议》

ES 、PES、PS、TS

  • ES Elementary Stream 原始流,编码器直接输出的流,可以是H.264/MIPEG,音频AAC.
  • PES Packetized Elementary Stream 分组ES(分组、打包、加入包头信息)
  • PS Program Stream 节目流 ,多个PES包的组合,包含同步信息、时钟恢复信息。
  • TS Transport Stream 传输流,固定长度的TS包组成,PES包的重组。信道环境较为恶劣、传输误码较高时一般采用TS码流

RTMP/RTSP/HLS

REF:https://www.jianshu.com/p/c04d810b7562

  • RTMP: Real time messaging protocol;

    Adobe公司提出,基于TCP协议的互联网应用层。基本单元是Message,传输时候会切割成Chunk,进行串行同步的发送。

  • RTSP: Real time streaming protocol

    基于RTP/RTCP(UDP)的媒体传输协议;

    img

    区别:

    1)RTMP协议是Adobe的私有协议,未完全公开,RTSP协议和HTTP协议是共有协议,并有专门机构做维护。

    2)RTMP协议一般传输的是flv,f4v格式流,RTSP协议一般传输的是ts,mp4格式的流。

    3)RTSP传输一般需要2-3个通道,命令和数据通道分离,RTMP一般在TCP一个通道上传输命令和数据。

  • HLS: Http live streaming

    苹果公司提出的基于HTTP协议的流媒体网络传输协议。HTTP+M3U8+TS

image-20220305195430986

H264 、H265

REF:https://www.cnblogs.com/pjl1119/p/9914861.html;

符合MPEG-4 标准,视频压缩算法(格式)。H265是H264升级,减少带宽提高画质。

  • 帧内预测压缩,解决的是空域数据冗余问题。
  • 帧间预测压缩(运动估计与补偿),解决的是时域数据冗余问题。
  • 整数离散余弦变换(DCT),将空间上的相关性变为频域上无关的数据然后进行量化。
  • CABAC压缩。

经过压缩后的帧分为:I帧,P帧和B帧:

  • I帧:关键帧,采用帧内压缩技术。
  • P帧:向前参考帧,在压缩时,只参考前面已经处理的帧。采用帧音压缩技术。
  • B帧:双向参考帧,在压缩时,它即参考前而的帧,又参考它后面的帧。采用帧间压缩技术。

其他

宇视科技

https://open.uniview.com/login yinweiwen/poixxxx_

image-20220307111257305